
CANALHOSE-DC干式快速接头广泛应用于各个行业,包括海上传输,化工,制药,乳品及饮料等产业。

DC干式接头是依照NATO 标准STANAG 3756 生产的,因此能够与国际上的TODO、Mann-Tek and Avery Hardoll 及采用该标准生产的公司产品相匹配。
CANALHOSE-DC 干式快速接头具有以下特点:
• 连接或断开快速高效且物料损失量极少
• 降低人为操作失误的可能性
• 流体的泄露几率几乎为零
• 操作轻松自如
• 防止产品之间的交叉污染
• 确保人员健康安全,防止环境污染。
工作原理
将母头端(图示A)对准公头端(图示B)顺时针旋转15°连接在一起,此时,阀门还是关闭的。继续顺时针
旋转90°才能打开阀门,产品开始流通。关闭阀门和打开接头,采用以上相反的步骤。
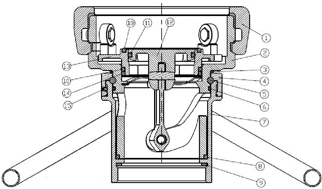
CANALHOSE-DC 干式接头设计特点(以不锈钢材质为例)

CANALHOSE-DC 干式接头结构图,
1、产品设计图:以下为4"BSP 内螺干式接头3D 图。
2、 公头端组件装配图


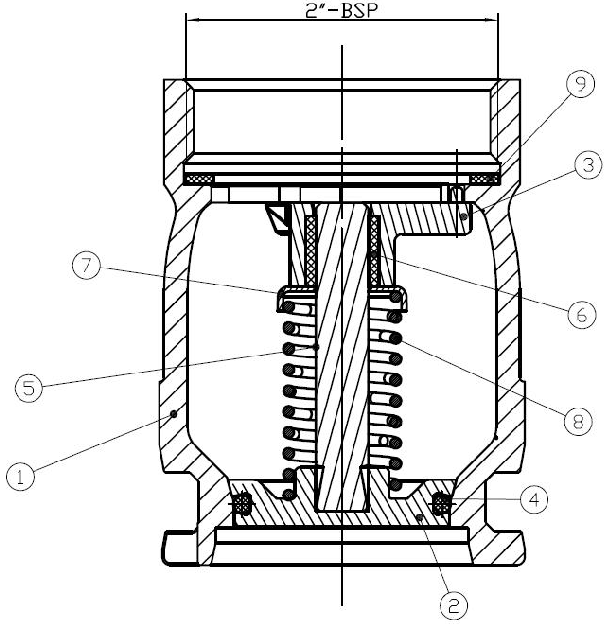
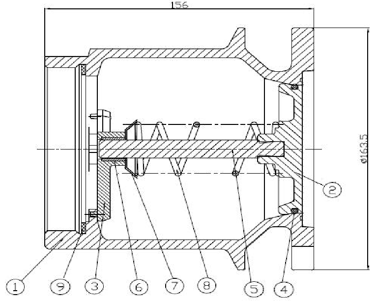
2.1 2"BSP 内螺公头端组件

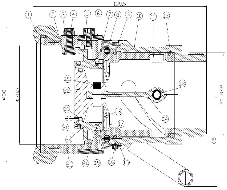
2.2 4"BSP 内螺公头端组件
3. 母头端组件装配图
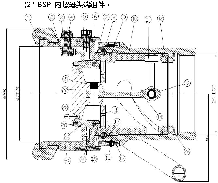
3.1 2"BSP 内螺母头端组件

3.2 2" BSP 外螺母头端组件


3.3 4"BSP 内螺母头端组件
